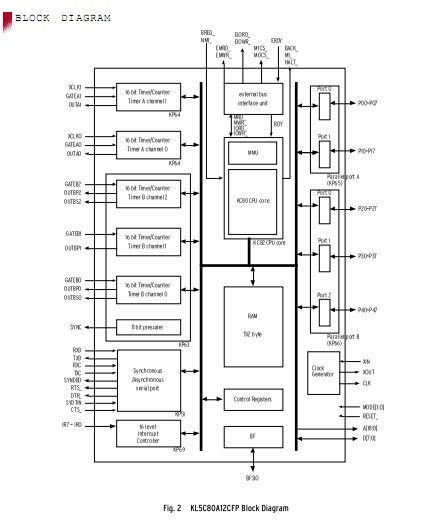
Product Summary
The KL5C80A12CF a 8bit high speed microcontroller.
Parametrics
General specifications: (1)address space:512K byte; (2)CPU registers:8 bit×16(general purpose), 16bit×4 and 8 bit×2(special purpose); (3)machine cycle:min.instruction execution time=10nsec.; (4)I/O ports:totoal 40bit; (5)ON chip memory:512byte high speed synchronous RAM; (6)package: QFP 100pin.
Features
Features: (1)instruction set:Z80 fully compatible at binary level; (2)serial interface:full-duple ×USART×1channel, MAX baud rate 2Mbps; (3)timers:16bit multificational timer/counter ×2channels, 16bit timer/counter ×3channels with 8bit prescaler; (4)clock generator, wait-state controller and embedded debug logic whic cooperates with external "Bug finder" system.
Diagrams

(Hong Kong)





